Technologia cyfrowa w studiu telewizyjnym
Pamięci dyskowe i montaż nieliniowy.
Klasyczny zestaw montażowy

Wady liniowego zestawu montażowego:
w zestawach analogowych dodatkowo:
Nośniki danych
Najważniejsze kryteria według których można ocenić różne metody magazynowania danych to:
Ogólny podział nośników danych:

Montaż nieliniowy:

Koncepcja realizacji nieliniowych z
estawów montażowych:
Cyfrowa technologia w studiu telewizyjnym.
Cyfrowe korektory błędów czasowych, synchronizatory, urządzenia cyrowych efektów (DVE) pozwoliły na rozwiązanie problemów występujących w studiach telewizyjnych, rozszerzyły też możliwości systemu analogowego. Wadą systemu hybrydowego jest konieczność stosowania wielokrotnego przetwarzania analogowo-cyfrowego i cyfrowo-analogowego, które powodują kumulowanie się zniekształceń sygnału wizyjnego i w rezultacie pogorszenie jakości.
W idealnych warunkach analogowy system telewizyjny jest najlepszym, jaki można sobie wyobrazić. Obecność szumów, prześwitów i zakłóceń powoduje degradację sygnału analogowego w procesach przesyłania sygnałów i przechowywania informacji o obrazie telewizyjnym. Charakter tych czynników jest mało skorelowany z informacją o obrazie, a zatem usunięcie ich z analogowego sygnału wizyjnego jest właściwie niemożliwe.
Technologia cyfrowa, w której informacja o obrazie kodowana jest za pomocą symboli logicznych o dwóch charakterystycznych wartościach jest bardziej odporna na wpływ takich czynników jak szumy, prześwity i zniekształcenia. Cyfrowy sygnał może być całkowicie odtworzony w obecności szumów i zniekształceń tak długo, jak długo poziomy logiczne sygnału cyfro
wego są prawidłowo rozróżniane.Cyfrowy równoległy sygnał wizyjny jest przekształcany w sygnał szeregowy przy użyciu kodu rozproszonego NRZI. Zastosowany kod powoduje, że cyfrowy szeregowy sygnał wizyjny jest przypadkowym ciągiem bitów, z którego możliwe jest odtworzenie zegara taktującego. Większość energii cyfrowego szeregowego sygnału zawarta jest w paśmie do 135 MHz.
Cyfrowy system telewizyjny ma niezaprzeczalne zalety w stosunku do systemu analogowego. Z technicznego punktu widzenia technologia cyfr
owa oferuje przede wszystkim możliwość budowy systemu telewizyjnego znacznie bardziej odpornego na typowe w technologii analogowej zniekształcenia i zakłócenia takie jak: zniekształcenia nieliniowe, zakłócenia interferencyjne, prześwity, szumy.Urządzenia cyfrowe, np. synchronizatory, układy automatycznego fazowania w znacznym stopniu rozwiązują problemy synchronizacji systemu (
timing) zapewniając perfekcyjną synchronizację sygnałów.Wykorzystanie urządzeń cyfrowych stwarza wspaniałe możliwości obróbki sygnałów niemożliwej do zrealizowania w technologii analogowej (DVE) lub perfekcyjne efekty przy realizacji metodami cyfrowymi.
Cyfrowa technologia oferuje również ogromne możliwości zmniejszenia liczby informacji niezbędnej do prawidłowego odtworzenia obrazu. W odróżnieniu od technologii analogowej, w której kompresja pasma częstotliwości prowadzi z reguły do jego zmniejszenia lub komplikuje procesy dekodowania, cyfrowe metody redukcji strumienia danych likwidują nadmiar informacji zawartej w sygnale telew
izyjnym.Cyfrowa technologia umożliwia również, poprzez osiągnięcia techniczne, powstanie nowych narzędzi, nowego podejścia do produkcji programów. Jest to szczególnie widoczne w procesie postprodukcji, gdzie np. metody montowania programów z wykorzystaniem metod nieliniowych są już z powodzeniem wykorzystywane o czym mogłem się osobiście przekonać.
System cyfrowy, niezaprzeczalnie lepszy od analogowego systemu telewizyjnego, wprowadza jednak pewne ograniczenia.
Jednym z podstawowych ograniczeń jest szerokie pasmo niezbędne do przesyłania lub zapisywania szeregowych sygnałów cyfrowych reprezentujących sygnał wizyjny. Wielkie możliwości metod redukcji strumienia danych sygnału wizyjnego pozwalają na minimalizację tego problemu. Inne ograniczenia są znane
z technologii analogowej ( np. timing, przełączanie sygnałów), albo zupełnie nieznane w studiach analogowych.Schemat funkcjonalny studia cyfrowego:

Cyfrowa technologia stwarza prawie nieograniczone możliwości manipulowania treścią obrazów wizyjnych w sposób niemożliwy do uzyskania w technologii analogowej. Jednak pewne elementy obróbki sygnału wizyjnego 9fonicznego również0 bardzo proste do wykonania w technologii analogowej są skomplikowane i mogą być przyczyną dodatkowych błędów, gdy są realizowane
w technologii cyfrowej. W technologii analogowej proces zmiany amplitudy jest procesem bardzo prostym. W technologii cyfrowej każda zmiana amplitudy sygnały wymaga ponownego kwantowania i jest przyczyną dodatkowych strat dokładności odwzorowania oryginalnego sygnału analogowego. Dlatego też, w cyfrowych urządzeniach sygnały obrabiane są wewnątrz urządzenia z większą dokładnością niż ta wynikająca ze standardu dla cyfrowych sygnałów (np. 12 bitów dla standardu 10 bitowego).Nowa technologia cyfrowa wymaga
nowego podejścia ludzi telewizji do swojej pracy. Szeregowy, cyfrowy sygnał wizyjny jest całkiem inny od dotychczasowego analogowego, znanego nam od lat. Nie jest możliwa ocena sygnału na podstawie obserwacji na oscyloskopie sygnału cyfrowego reprezentującego sygnał analogowy. Sygnał cyfrowy musi być zdekodowany do postaci sygnału analogowego dla prawidłowej oceny jakości sygnału. Ocena parametrów szeregowego sygnału cyfrowego takich jak: czasy narastania impulsów, wykres oka, jiter wymaga stosowania oscyloskopów o bardzo szerokim paśmie. Konieczne jest także stosowanie nowych metod śledzenia prawidłowości sygnału cyfrowego znanych z technologii komputerowej (suma kontrolna linii, ramki etc.).Kompresja sygnałów telewizyjnych.
Szybki rozwój tec
hnik cyfrowych pociąga za sobą coraz szersze wykorzystywanie cyfrowych sygnałów wizyjnych i fonicznych. Cyfryzacja sygnałów pozwala na uzyskiwanie szeregu zalet, zarówno jakościowych jak i operacyjnych, wiąże się jednak ze wzrostem szerokości pasma sygnałów, gdyż sygnał cyfrowy zajmuje znacznie większą szerokość pasma niż sygnał analogowy reprezentujący ten sam obraz. Stąd od chwili powstania koncepcji cyfryzacji sygnałów wizyjnych rozpoczęto prace nad kompresją tych sygnałów. Kompresja cyfrowych sygnałów wizyjnych jest możliwa i może być bardzo skuteczna, a sygnał cyfrowy skomprymowany może zajmować węższe pasmo niż sygnał analogowy co obrazuje poniższy rysunek. Dopuszczalny stopień' kompresji zależy od wymagań' co do jakości sygnału i od skuteczności zastosowanej metody kompresji.
Standardowy sygnał wizyjny wymaga przekazywania strumienia danych 270 Mb/s (sygnał 10-bitowy) lub 216 Mb/s (sygnał 8-bitowy). Przekazywanie tylko sygnału odpowiadającego czynnej części obrazu wymaga odpowiednio 207 Mb/s oraz 166 Mb/s. Przy wykorzystaniu prostej modulacji PCM przesyłanie takiego strumienia danych wymaga pasma kanału przesyłowego rzędu 100 MHz, a zapis jednego obrazu 829 kB pamięci (w przypadku sygnału 8-bitowego). Zapis jednej godziny programu wymaga 75 GB.
Cyfrowe sygnały telewizji HDTV będą wymagały przekazywania strumienia danych około 1 Gb/sSystemy redukcji strumienia danych wizyjnych działają na ogół przez usuwanie z sygnału wizyjnego, przed transmisją czy zapisem, redundancji i mniej ważnych informacj
i i odtworzenie z przekazywanych danych aproksymacji obrazu w dekoderzeStrumień danych cyfrowego sygnału wizyjnego można zmniejszyć kodując tylko czynną część obrazu, przesyłając sygnały synchronizacji w inny sposób, znacznie oszczędniejszy i odtwarzając standardowe sygnały synchronizacji i wygaszania po stronie odbiorczej.
Sygnały telewizyjne zawierają bardzo dużo informacji nadmiarowej, która może być pominięta bez uszczerbku dla informacji o obrazie. Ruch na obrazie telewizyjnym jest najczęściej przewidywalny i jest możliwe przesyłanie tylko informacji o zmianach, a sąsiednie elementy na obrazie są często podobne i tu również opłacalne jest przesyłanie tylko informacji o zmianach.
Systemy kompresji wykorzystujące jedynie informacje zawarte w jednym obrazie nazywane są systemami z kompresją wewnątrzobrazową, natomiast systemy wykorzystujące redundancję, występującą miedzy kolejnymi obrazami, nazywane są systemami z kompresją międzyobrazową.
Dopuszczalny stopień kompresji zależy od przeznaczenia sygnału, inne warunki stawia się sygnałom emitowanym w celu odbioru w warunkach domowych, inne dla rozsyłania sygnałów między ośrodkami studyjnymi, inne dla produkcji w studiach telewizyjnych, a jeszcze inne dla systemów wideokonferencyjnych czy dla zapisu sy
gnałów na CD-ROMach.Techniki kompresji sygnału wizyjnego można podzielić na odwracalne i nieodwracalne. Przy kodowaniu statycznym, jak również kodowaniu entropijnym żadne informacje nie są tracone w procesie kodowania i dekodowania (kompresja bezstratna); techniki takie mogą znaleźć zastosowanie w kanałach o zmiennym strumieniu danych, przy umiarkowanym stopniu kompresji - zależnym od rodzaju obrazu.
Dla kanałów o stałym strumieniu danych wykorzystuje się raczej techniki nieodwracalne (kompresję stratną), w których pewna ilość informacji jest tracona i dekoder nie może ich odtworzyć. Straty te są powodowane przez kwantyzacje informacji. Możliwy jest do osiągnięcia większy stopień kompresji, ale wprowadza się większe zniekształcenia. Wykorzystując właści
wości ludzkiego systemu spostrzegania można spowodować, że zniekształcenia te będą praktycznie niezauważalne z punktu widzenia danego zastosowania.
Obecnie istniejące standardy kompresji sygnałów telewizyjnych, to:

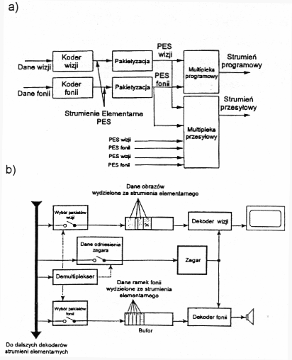
Ogólne schematy kodowania i dekodowania strumienia pr
ogramowego i strumienia przesyłowego MPEG-2, a) kodowanie, b)dekodowanie.Zestawienie porównawcze systemów kompresji wykorzystywanych dla telewizji programowej pokazuje poniższa tabela:
